3月11日讯 3月9日,中天药业/华世通生物4类仿制药非布司他片的上市申请已经审批完毕,获批生产并视同过评,该产品在2019年中国公立医疗机构及中国城市实体药店终端合计市场规模接近20亿元。米内网预测数据显示,2020年中国城市实体药店终端抗痛风制剂市场规模同比增长15.64%,在产品排名中,非布司他片稳居榜首。

来源:国家药监局官网
非布司他片是一款黄嘌呤氧化酶(XO)抑制剂,通过减少血清尿酸达到疗效,主要用于痛风患者高尿酸血症的长期治疗,有“痛风神药”之称。
米内网数据显示,非布司他片在2019年中国城市公立医院、县级公立医院、城市社区中心以及乡镇卫生院(简称中国公立医疗机构)及中国城市实体药店终端销售额接近20亿元。
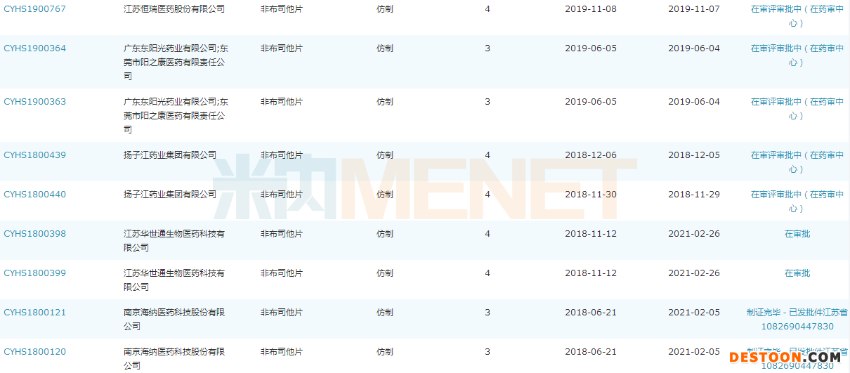
非布司他片新分类报产情况


来源:米内网一键检索
东阳光药、扬子江药业、倍特药业等11家企业按新注册分类提交非布司他片上市申请,南京海纳医药、中天药业/华世通生物的产品已经获批并视同过评,其余企业的产品还在审评审批中。
中国城市实体药店终端抗痛风制剂销售情况

来源:米内网中国城市实体药店终端竞争格局
近几年来,中国城市实体药店终端抗痛风制剂的市场规模不断扩大,年增长率均保持在两位数,2020年在疫情影响下,预计增速也将达到15.64%,市场潜力较大。
中国城市实体药店终端抗痛风制剂TOP5产品

来源:米内网中国城市实体药店终端竞争格局
TOP5产品中,非布司他片稳居首位,销售额将超过5亿元,同比增长22.6%;仅有2家国产企业获得生产批文的苯溴马隆片也将实现4.67%的增长。



