10月9日讯 近日,江苏盈科生物按仿制4类报产的丙泊酚中/长链脂肪乳注射液(受理号CYHS1900274)注册办理状态变更为“在审批”,有望获批+首家过评。丙泊酚中/长链脂肪乳注射液是一种快速短效的静脉麻醉药,2019年在中国公立医疗机构终端销售额超过19亿元。

丙泊酚中/长链脂肪乳注射液是费森尤斯卡比研发的一种快速短效的静脉麻醉药,被广泛应用于围手术期的麻醉诱导、麻醉维持,以及ICU病房的镇静。
目前国内市场丙泊酚中/长链脂肪乳注射液生产厂家仅有4家,德国的2家药企费森尤斯卡比、贝朗获批进口,国内2家药企广东嘉博制药、四川国瑞药业获批仿制。
米内网数据显示,2019年中国城市公立医院、县级公立医院、城市社区中心及乡镇卫生院(简称中国公立医疗机构)终端丙泊酚中/长链脂肪乳注射液销售额超过19亿元。其中,费森尤斯卡比占据61.92%的市场份额,四川国瑞药业占比19.31%。
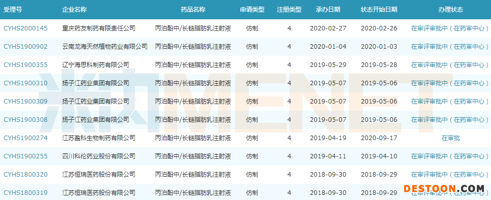
丙泊酚中/长链脂肪乳注射液仿制4类审评审批情况

来源:米内网一键检索
目前丙泊酚中/长链脂肪乳注射液未有企业通过一致性评价。恒瑞医药、海思科、扬子江药业集团、科伦、云南龙海、重庆药友等6家企业按仿制4类提交的丙泊酚中/长链脂肪乳注射液上市申请在审评中;江苏盈科生物的丙泊酚中/长链脂肪乳注射液注册办理状态已变更为“在审批”,若顺利获批将成为该品种首家过评企业。



110102000668(1)号